Berdasarkan arus kerjanya, maka karburator dibedakan menjadi 2 jenis :
1. Karburator arus turun
2. Karburator arus datar
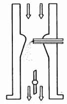
Arus yang dimaksud disini adalah aliran bahan bakar dan udara, dari filter masuk sampai ke intake manifold. Umumnya karburator arus turun yang paling banyak digunakan, karena tidak diperlukan mekanisme pompa penghisap bahan bakar dari tangki. Karburator arus turun memanfaatkan gaya gravitasi agar bensin bisa smpai ke karburator.
Sebaliknya karburator arus datar, memerlukan pompa, tapi ada beberapa yang tidak memakai juga. Ini tergantung pada penggunaan, biasanya jika digunakan di speda motor, maka pompa tidak terlalu diperlukan, akan tetapi jika dipakai di mobil maka wajib hukumnya.
1. Karburator arus turun
Pada karburator arus turun, arah masuknya campuran udara dan bahan bakar adalah ke bawah (down draft). Karburator jenis ini banyak digunakan karena tidak ada kerugian gravitasi. Karburator arus turun banyak di temui pada mobil mobil.
Pada karburator arus datar, arah masuknya campuran udara dan bahan bakar adalah ke samping (side draft). Karburator tersebut pada umumnya digunakan pada mesin yang memiliki output yang tinggi. Jenis ini paling banyak di jumpai pada kendaraan sepeda motor, namun juga masih banyak mobil yang menggunakan karburator jenis ini.


0 komentar:
Post a Comment